티스토리 뷰
목차

최근 AI 열풍과 함께 반도체 시장에서 가장 뜨겁게 거론되는 단어가 있습니다. 바로 HBM입니다. 뉴스나 주식 시장에서 연일 보도되고 있지만, 정작 이것이 왜 기존 메모리와 다른지, 왜 엔비디아 같은 글로벌 기업들이 줄을 서서 기다리는지 그 실체에 대해서는 막연하게 느껴질 때가 많습니다.
단순히 속도가 빠른 메모리일까요, 아니면 우리가 모르는 전혀 새로운 기술이 숨어 있는 것일까요? 컴퓨터의 두뇌인 GPU가 아무리 똑똑해도 데이터가 전달되는 길이 막히면 제 성능을 낼 수 없는데, HBM은 바로 이 병목 현상을 해결하기 위해 등장한 혁신적인 해결책입니다.


HBM의 정의와 기술적 구조의 핵심
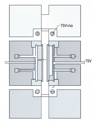
HBM은 High Bandwidth Memory의 약자로, 우리말로는 고대역폭 메모리라고 부릅니다. 쉽게 설명하자면 데이터를 주고받는 통로인 대역폭을 극대화한 메모리 반도체입니다. 기존의 DDR 방식이 평면에 메모리 칩을 나열하는 방식이었다면, HBM은 아파트처럼 메모리 칩을 수직으로 높게 쌓아 올린 구조를 가집니다. 이렇게 칩을 쌓으면 물리적인 공간을 적게 차지하면서도 훨씬 더 많은 양의 데이터를 한꺼번에 처리할 수 있는 기반이 마련됩니다.
여기서 핵심 기술은 TSV라는 관통 전극 기술입니다. 칩에 미세한 구멍을 수천 개 뚫어 상하층을 직접 연결하는 방식인데, 이는 기존의 금선을 이용한 연결 방식보다 데이터 전송 속도를 획기적으로 높여줍니다.
마치 좁은 골목길을 이용해 데이터를 옮기다가 수십 차선의 고속도로를 뚫은 것과 같은 효과를 냅니다. 결과적으로 데이터 처리 속도가 비약적으로 상승하면서 고성능 컴퓨팅 환경의 필수 요소가 되었습니다.






AI 시대에 HBM이 독보적인 선택인 이유
현재 인공지능 기술은 방대한 양의 데이터를 학습하고 이를 바탕으로 결과를 도출하는 과정을 거칩니다. 이 과정에서 계산을 담당하는 프로세서와 데이터를 저장하는 메모리 사이에는 엄청난 양의 정보가 오고 갑니다. 기존의 일반적인 그래픽 메모리로는 이 거대한 데이터 흐름을 감당하기에 역부족이었습니다. 아무리 연산 장치가 빨라도 메모리에서 데이터를 보내주는 속도가 느리면 전체 시스템은 멈춰 서게 됩니다.




HBM은 바로 이 지점에서 압도적인 효율성을 보여줍니다. 데이터가 이동하는 경로를 물리적으로 단축하고 전송 폭을 넓힘으로써 지연 시간을 최소화합니다. 또한 전력 소비 효율 측면에서도 강점을 가집니다.
동일한 양의 데이터를 처리할 때 소비되는 전력이 적기 때문에 대규모 서버를 운영하는 데이터 센터 입장에서는 운영 비용을 절감할 수 있는 강력한 무기가 됩니다. 인공지능 서비스의 질을 결정하는 핵심이 메모리의 성능에 달려있다고 해도 과언이 아닙니다.
차세대 반도체 경쟁의 판도를 바꾸는 흐름
반도체 산업의 중심축이 단순한 범용 제품에서 맞춤형 고부가가치 제품으로 이동하고 있습니다. 과거에는 규격화된 메모리를 대량 생산하는 것이 중요했다면, 이제는 특정 고객사의 요구에 맞춘 최첨단 메모리를 누가 더 안정적으로 공급하느냐가 승부처가 되었습니다. HBM은 제조 공정이 매우 복잡하고 난도가 높아서 수율을 확보하는 것이 기술력의 척도가 되고 있습니다.
현재 시장은 4세대인 HBM3와 5세대인 HBM3E를 넘어 차세대 제품인 HBM4로의 진화를 서두르고 있습니다. 적층 단수가 높아질수록 열 배출 문제나 공정 정밀도가 더 까다로워지는데, 이를 극복하는 기업이 미래 반도체 주도권을 쥐게 됩니다.
이제 HBM은 단순히 하나의 부품을 넘어 인공지능 인프라의 근간을 이루는 전략 자산으로 평가받고 있습니다. 각국과 기업들이 사활을 걸고 기술 개발에 매진하는 이유가 여기에 있습니다.

HBM의 주요 특징과 변천사
HBM 기술의 발전 과정을 살펴보면 다음과 같은 특성을 확인할 수 있습니다.
- 주요 세대 구분: HBM, HBM2, HBM2E, HBM3, HBM3E, HBM4
- 핵심 기술 요소: TSV(관통 전극), 하이브리드 본딩, 적층 기술
- 주요 활용 분야: AI 서버, 슈퍼컴퓨터, 고성능 그래픽 카드, 자율주행 시스템
- 제품 장점: 고대역폭 확보, 저전력 설계, 실장 면적 최소화



마무리
HBM은 메모리를 수직으로 쌓아 데이터 통로를 극대화한 고성능 반도체로, AI 연산의 병목 현상을 해결하는 핵심 인프라입니다.
단순한 속도 개선을 넘어 구조적 혁신을 통해 초거대 AI 시대를 가능하게 만드는 기술적 토대라고 이해할 수 있습니다.



PER 이란? 이해하기
주식 투자를 시작하면서 가장 먼저 마주하게 되는 단어 중 하나가 바로 PER입니다. 종목 토론방이나 뉴스 기사에서 이 수치가 낮으면 저평가되었다느니, 높으면 거품이라느니 하는 이야기들을
dd.jiniusoh.com
펠리세이드 하이브리드 가격표
가족 SUV를 고를 때 가장 헷갈리는 지점은 ‘트림·좌석·옵션’ 조합에 따라 체감가격이 크게 달린다는 점입니다. 이 글은 현대차 공식 자료를 바탕으로 펠리세이드 하이브리드 가격표를 한 화
dd.jiniusoh.com
가슴이 콕콕찌르는증상
가슴이 콕콕 찌르는 증상, 단순한 소화 불량일까요?가끔 심장이 멈칫하는 듯, 혹은 바늘로 콕콕 찌르는 듯한 통증을 느껴본 적 있으신가요? 갑작스러운 가슴 통증은 누구나 겪을 수 있지만, 그
dd.jiniusoh.com
강릉 가볼만한곳 베스트10
✨ 강릉 여행, 여기가 베스트! 놓치면 후회할 가볼만한곳 10선가슴이 탁 트이는 푸른 동해 바다, 고즈넉한 사찰의 아름다움, 그리고 입맛을 돋우는 맛있는 커피와 음식들. 많은 분들이 일상에 지
dd.jiniusoh.com